News information
:2022-03-08 09:33 :105630 : 空氣凈化消毒機廠家
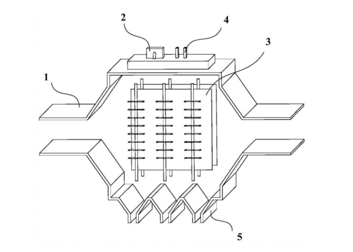
什么是除塵裝置
1、構成
電子除塵裝置主要由廢氣入口、陽極板、電源線,廢氣出口,隔離開關構成,廢氣通過入口,經過陽極板以及電源線,通過一系列的作用,達到吸附電離的效果,再排出廢氣出口。

2、工作原理
電子靜電除塵是氣體除塵的一種方法。灰塵氣體通過高壓靜電場時被電解分離,負離子與粉塵離子結合一起,帶上負電后,會趨向陽極表面放電而沉積。在化工、冶金、機械、生產車間等工業應用中用,用以回收有用塵粒或者凈化排放的氣體。通過利用電子靜電場,氣體被電離,從而使電極把塵粒帶點吸附到電極上達到除塵的效果,在電子強電廠中,空氣中的分子物質會被電離分解為電子和正離子,塵粒會吸附電子奔向正極,使正極收集到吸附帶負電的塵粒。

3、效果
靜電除塵裝置可以捕獲1μm一下的細微粉塵,除塵效率能達到百分之九十九,對環境適應強,能在300+以上的溫度運行,可以通過不同的操作參數,滿足不同的凈化效率。
想要了解更多的關于空氣凈化消毒機的各類知識,可以致電聯系我們,公司會有專門的人員為您講解,希望能夠在之后的來電當中聽到您的聲音,我們靜候您的來電。
公司名稱:東莞市利安達環境科技有限公司
地址:廣東省東莞市東業路黃金小鎮16棟1單元1-4層
電話 :13602318501
網址:http://m.shundepu.cn
郵箱:730415390@qq.com

contact us
公司:東莞市利安達環境科技有限公司
地址:廣東省東莞市東業路黃金小鎮16棟1單元1-4層
業務:13602318501
售后:13925520851
網址:http://m.shundepu.cn
郵箱:730415390@qq.com